


Technical Parameters
Technical parameter | Parameter value |
Brand | SONBEST |
Temperature measuring range | -30℃~80℃ |
Temperature measuring accuracy | ±0.5℃ @25℃ |
Output Interface | DC0~5V |
Power | DC12~24V 1A |
Running temperature | -30~85℃ |
Working humidity | 5%RH~90%RH |
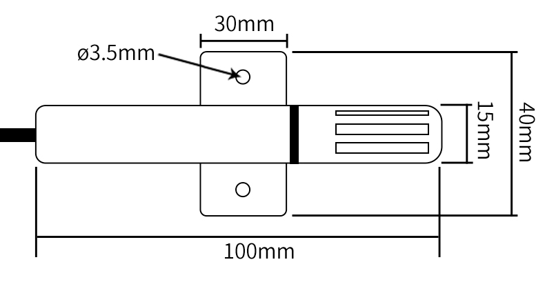
Product Size

Wiring instructions
Why choose this product?



How to use?



Application solution





Pictures

